banner
多阈值采样
Beyond Shannon, Beyond PET

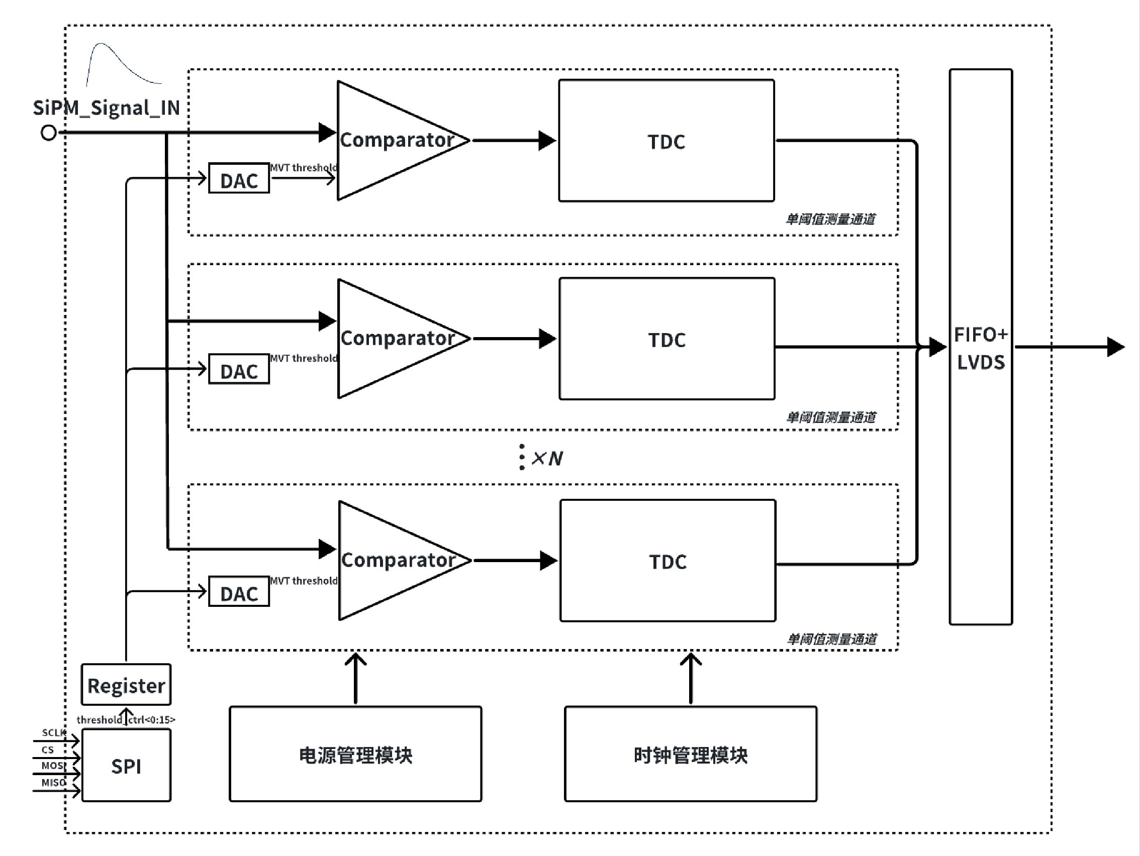
模数转换器将模拟信号转换为数字信号,是连接物理世界与信息世界的桥梁,也是现代工业与科研中的核心基础器件。1920年代以来,随着均匀时域采样的电子学实现和数学理论建立,均匀时域采样成为了模数转换领域的基石。但对于需要高速多通道信号采样的应用场景(如正电子发射断层成像、核聚变中子能谱和中微子探测等),基于均匀时域采样的模数转换方案存在功耗和成本两方面的不可行。团队发明的多电压阈值数字化方法(MVT),基于值域采样,结合信号先验信息,以若干阈值比较器即可简洁地完成海量通道高速信号的精确数字化。目前,MVT方法已被成功运用在正电子发射断层成像、X射线安检、中子石油测井和质子治疗监测等领域中。

Multi-Voltage Threshold

Multi-Voltage Threshold(MVT)

Format
超多通道数探测

超多通道数探测

超宽动态范围探测

超宽动态范围探测

超高计数率探测

超高计数率探测

超高工作温度探测

超高工作温度探测

MVT芯片 图1 图2 图3 图4 图5

MVT芯片